Свяжитесь с нами по электронной почте

sdepochwater@hotmail.com

Новости

​Характеристики и классификация задвижек


Задвижка, также известная как задвижка с задвижкой, представляет собой клапан, открывающая и закрывающая часть которого представляет собой задвижку и который приводится в движение штоком клапана для перемещения задвижки вверх и вниз.


Характеристики задвижек


1) Преимущества задвижек: Низкое сопротивление потоку жидкости; Крутящий момент, необходимый для открытия и закрытия, невелик. Направление потока среды не ограничено. При открытии и закрытии нет явления гидроудара. Структура формы относительно проста, а производственный процесс лучше.


2) Недостатки задвижек: Они имеют относительно большие наружные размеры и высоту установки, требуют значительного места для установки. В процессе открытия и закрытия на уплотнительной поверхности возникает относительное трение, что приводит к значительному износу. Даже при высоких температурах он склонен к появлению царапин. Задвижки обычно имеют две уплотнительные поверхности, что добавляет некоторых сложностей при обработке, шлифовке и обслуживании.


Задвижки имеют широкий спектр применения. Обычно его применяют для трубопроводов водоснабжения номинальным диаметром DN50 и более.



Классификация задвижек


Задвижки можно разделить по способу соединения на резьбовые, фланцевые и сварные. По конструктивным особенностям их можно разделить на параллельные шиберные и клиновые шиберные. В зависимости от конструкции штока клапана их можно разделить на задвижки с отдельным штоком (подъемным штоком) и задвижки со скрытым штоком (вращающимся штоком).




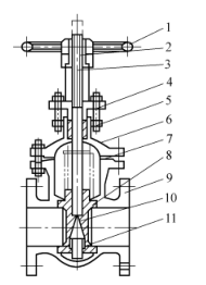
1) Двойная шиберная задвижка с параллельным штоком и открытым штоком: Двойная шиберная задвижка с открытым штоком и параллельным штоком показана на рисунке 1. Задвижка состоит из двух симметричных и параллельных дисков. Когда ворота опускаются, верхний клин, помещенный в нижнюю часть ворот, заставляет две ворота расширяться наружу и плотно прижиматься к седлу клапана, таким образом плотно закрывая клапан. Когда ворота поднимаются, клин отделяется от диска. Как только диск поднимается на определенную высоту, клин приподнимается за выступы на диске и поднимается вместе с воротом. Этот клапан имеет простую конструкцию. Обработка, шлифовка и уход за уплотнительной поверхностью проще, чем у клиновой задвижки. Однако его герметичность относительно низкая. Подходит для сред с давлением не более 1,0 МПа и температурой не более 200 ℃.



Рис. 1. Параллельный двойной затвор с выдвижным штоком


1. Маховик 2- гайка штока клапана 3- шток клапана 4 - сальник 5 - сальник 6 - крышка клапана

7 — Прокладка 8 — Уплотнительное кольцо 9 — Корпус клапана 10 — Шибер 11 — Верхний клин


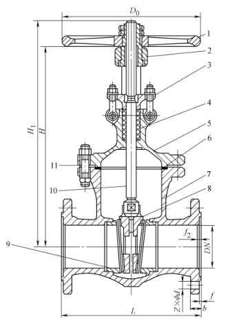
2) Клиновая задвижка со скрытым штоком: Как показано на рисунке 2, уплотнительная поверхность этого клапана наклонена и образует угол. Чем выше температура среды, тем больше угол. Клиновидные шиберные пластины подразделяются на одинарные, двойные и эластичные, как показано на рисунках 2a, b и c соответственно. Обработка, шлифовка и обслуживание пластин с клиновыми шиберами сложнее, чем у пластин с параллельными шиберами, но они обладают лучшими герметизирующими характеристиками.


Рисунок 2. Задвижка клиновая со скрытым штоком.


a) Клиновая одинарная затворная пластина b) Клиновая двойная затворная пластина c) Клиновая эластичная затворная пластина


1. Маховик 2. Индикатор 3. Крышка 4. Сальниковая коробка 5. Набивка 6. Крышка клапана

7 - Шток клапана 8 - Гайка штока клапана 9, 12 - Уплотнительное кольцо 10 - Корпус клапана 11 - Задвижка 13 - Прокладка


Эластичная задвижка показана на рисунке 3. Ее преимущества заключаются в простой конструкции и надежности использования, а также могут вызывать небольшую упругую деформацию, что увеличивает герметичность закрытия.



Рисунок 3. Эластичная задвижка


1. Маховик 2 – гайка штока клапана 3 – сальник 4 – сальник 5 – крышка клапана 6 – прокладка

7- Корпус клапана 8 Задвижка 9 – Уплотнительное кольцо 10 – Шток клапана 11 – Соединительный болт


В шиберной задвижке с выдвижным штоком резьба стержня клапана соответствует накидной гайке, оснащенной маховиком. Нижний конец стержня клапана имеет квадратную головку, которая заделана в тарелку затвора. При повороте маховика шток клапана и пластина затвора перемещаются вверх и вниз. При открытии шток клапана выдвигается из маховика. Преимущество состоит в том, что о степени открытия клапана можно судить по выдвинутой длине стержня клапана, и стержень клапана не вступает в прямой контакт с транспортируемой средой. Недостаток – клапан имеет большую высоту открытия, а на месте установки должно быть достаточно места для выдвижения штока клапана наружу. При установке на месте обязательно обратите внимание на этот момент. Наружная резьба штока задвижки со скрытым штоком соответствует внутренней резьбе, встроенной в клапан. Поэтому, когда маховик поворачивается, шток клапана вращается, заставляя заслонку внутри клапана двигаться вверх и вниз, но шток клапана не может двигаться вверх и вниз. Задвижка скрытого монтажа занимает меньше места при установке. Перекачиваемая среда непосредственно контактирует со стержнем клапана, и степень открытия клапана не может быть оценена по стержню клапана. Будь то задвижка с выдвижным штоком или задвижка с невыдвижным штоком, задвижка должна быть установлена ​​горизонтально. Шток клапана должен быть расположен вертикально вверх и не наклонен. Категорически запрещается устанавливать стержень клапана вниз.



Похожие новости
Оставьте мне сообщение
X
Мы используем файлы cookie, чтобы предложить вам лучший опыт просмотра, анализировать трафик сайта и персонализировать контент. Используя этот сайт, вы соглашаетесь на использование нами файлов cookie. политика конфиденциальности
Отклонять Принимать